第一章 液压传动基础知识

机器的组成:原动机、传动装置、工作机构。

根据传递能量的工作介质的不同,传动可分为:机械传动、电气传动、气体传动、液体传动。其中气体传动和液体传动统称为流体传动。

液体传动是以液体为工作介质传递能量和进行控制的一种传动方式,按其工作原理的不同,又分为液压传动和液力传动。

液压传动是利用液体的压力能传递能量的一种液体传动,其理论基础是帕斯卡原理。

液力传动则是利用液体的动能传递能量的一种液体传动,其理论基础是动量矩原理。

注意:液体必须在密封容积中才能起传动的作用。

1.1 流体力学基本知识

流体力学是研究液体平衡和运动规律的一门学科,是本课程的理论基础,这里只是简要介绍一下流体静力学和流体动力学的一些基本知识。

1.1.1 流体静力学基础

作用在液体上的力有两种,即质量力和表面力。单位质量液体受到的质量力称为单位质量力,在数值上就等于加速度。表面力是由与流体相接触的其它物体(如容器或其它液体)作用在液体上的力,这是外力;“液体静止”指的是液体内部质点间没有相对运动,不呈现粘性而言,至于盛装液体的容器,不论是静止的或是匀速、匀加速运动都没有关系。也可以是一部分液体作用在另一部分液体上的力,这是内力。单位面积上作用的表面力称为应力,它有法向应力和切向应力之分。当液体静止时,液体质点间没有相对运动,不存在摩擦力,所以静止液体的表面力只有法向力。

1.液体静压力及其特性

静压力是指液体处于静止状态时,单位面积上所受的法向作用力。静压力在液压传动中简称压力,在物理学中则称为压强。

静止液体中各点的压力不均匀,则液体中某一点的压力可写为

[image] 1-1

如法向作用力F均匀地作用在面积A上,则压力可用下式表示

[image] 1-2

法定的压力单位为牛顿/米2N/m2),称为帕斯卡,简称为帕(Pa)。由于此单位太小,使用不便,因此常用兆帕(MPa)来作单位。1MPa=106Pa,在工程实际中还用巴(bar)作为单位,1bar=105Pa=0.1MPa

静压力有两个重要性质:

1)液体静压力垂直于作用面,其方向和该面的内法线方向一致。这是因为液体只能受压,不能受拉。

2)静止液体中任何一点受到各个方向的压力都相等。如果液体中某点受到的压力不相等,那么液体就要运动,这就破坏了静止的条件(静止液体内任一点各方向静压力均相等)。

2.静压力基本方程

在重力作用下的静止液体,其受力情况如图1-1所示。如要求得液面下h处的压力,可以从液体中取出一个底面包含A点的竖直小液柱,其上顶与液面重合,液柱底面积为△A。高度为h。小液柱在重力及周围压力作用下在垂直方向的力平衡方程式为

[image] 1-3

[image] 

1-1 重力作用下的静止液体

化简后得

[image] 1-4

式中 [image]——静止液体中某一点的压力;

[image]——作用在液面上的压力;

[image]——该点离液面的垂直距离;

[image]——液体的密度;

[image]——重力加速度。

静压力基本方程说明了:

1)静止液体中任一点的压力是液面上的压力[image]和液柱重力所产生的压力[image]之和。当液面上只有大气压力[image]作用时,A点处静压力为

[image] 1-5

2)静止液体内的压力随着深度[image]的增加而线性地增加。

3)同一液体中,深度[image]相同的各点压力相同。由压力相同的点组成的面称为等压面。在重力作用下静止液体中的等压面是水平面。

在工程应用中,还可以用到另外的形式表达压力分布规律,将公式(1-4)按坐标[image]变换一下,整理后可得

[image]

[image] 1-6

对于静止液体,[image]H[image]均是常数,设[image],则有:

[image]const) (1-7

式中[image]实质上表示了A点单位重量液体相对于基准平面的位能。设A点液体质量为[image],重量为[image],相对于基准水平面的位置势能为[image],则单位重量的位能就是[image],故[image]又常称为位置水头。

[image]表示了单位重量的压力能,如图1-2所示,如果在与A点等高的容器壁上,接一根上端封闭并抽去空气的玻璃管,可以看见在静压力的作用下,液体将沿玻璃杯上升至高度[image],根据静力学基本方程,有[image]。这说明A处液体质点由于受到静压力作用而具有[image]的势能,或单位势能具有的势能为[image]。又因为[image],故[image]为单位重量液体的压力能,也称为压力水头。

[image] 

1-2 静压力基本方程式的物理意义

3.绝对压力、相对压力和真空度

压力有两种表示方法:一种是以绝对零压力作为基准所表达的压力,称为绝对压力;另一种是以当地大气压力为基准所表示的压力,称为相对压力。绝大多数测压仪所测得的压力都是高于大气压力的压力,故相对压力又称表压力。显然:

绝对压力=大气压力+相对压力(表压力) 1-8

或 相对压力(表压力)=绝对压力-大气压力 1-9

在工程上会遇到绝对压力高于大气压力的情况,也会遇到绝对压力低于大气压力的情况。例如,当液压泵运转时,在液压泵吸油腔内,液体的绝对压力就低于大气压力。这时相对压力是负值,工程上称为真空度,既有:

真空度=大气压力-绝对压力 (1-10

绝对压力、相对压力和真空度之间的相互关系如下图所示。

[image]

1-3 绝对压力、相对压力与真空度间的相互关系

通常在液压传动系统的压力管路和压力容器中,有外力所产生的压力[image]要比由液体自重所产生的压力[image]大许多倍。例如液压缸、管道的配置高度一般不超过10m,如取油液的密度为900kg/m2,则由油液自重所产生的压力[image]MPa,而液压系统内部的压力通常在几到几十MPa之间。因此,液压传动系统中,为使问题简化,由油液自重产生的压力通常忽略不计,一般认为静止液体内部各处的压力都是想等的。这种提法不严格,但解决实际工程问题很实用,以后在分析某些控制阀和液压系统的工作原理时常要用到它。

1.1.2 流体动力学基础

液体动力学研究液体在外力作用下的运动规律,即研究作用于液体上的力与液体运动间的关系。由于液体具有粘性,液体流动时有内摩擦力,因此研究液体流动时必须考虑粘性的影响。

流动液体的连续性方程、伯努利方程(能量方程)和动量方程是流动液体力学的三个基本方程。这里只介绍连续性方程和伯努利方程。

1.几个基本概念

理想液体:既无粘性又不可压缩的液体。

实际液体:既有粘性又可压缩的液体。

液体具有粘性,并且只有在液体流动时才显现粘性。但粘性阻力的规律比较复杂。所以开始时,先假设液体无粘性,在此基础上推导出基本方程,然后再考虑粘性的影响,并通过实验验证的方法对基本方程予以修正。

液体流动时,若液体中任何一点的压力、流速和密度都不随时间而变化,这种流动称为稳定流动(恒定流动);反之称为非稳定流动(非恒定流动)。

通流截面:垂直于液体流动方向的截面。

单位时间内流过某通流截面的液体体积称为流量,即

[image] 1-11

式中 [image]——流量,在液体传动中,流量单位为L/minmL/s

[image]——液体体积;

[image]——通过体积V所需要的时间;

[image]——通流截面面积;

[image]——平均流速。

2.液体流动的连续性方程

液体的压缩性很小,在一般情况下,可认为是不可压缩的。当液体在管道内作稳定流动时,根据质量守恒定律,管内流体的质量不会增多也不会减少,所以在单位时间内流过每一通流截面的液体质量必然相等。

[image]

1-4 液流的连续性原理

[image] [image]常数

[image] 1-12

公式(1-12)被称为连续性方程,它说明了在同一管路中,无论通流面积怎样变化,只要液体是连续的,即没有空隙,没有泄露,液体通过任一截面的流量是相等的;同时还说明了同一管路中通流面积大的地方液体流速小,通流面积小的地方则液体流速大。当通流面积一定时,通过液体的流量越大,其流速也越大。

3.能量方程(流体的伯努利方程)

1)理想流体的伯努利方程

理想液体没有粘性,它在管内作稳定流动时没有能量损失。根据能量守恒定律,同一管道在各个截面上液体的总能量都是相等的。

如流体静力学所述,对于静止液体,任一点液体的总能量为单位重量液体的压力能[image]和位能[image]之和。对于流动液体,除上述两项外,还有单位重量液体的动能[image]

 

 

[image] 

1-5 伯努力方程推导简图

如图1-5所示,液体在管道内作稳定流动,任意取两个截面[image][image],它们距离基准水平面的标高分别为[image][image],流速分别为[image][image],压力分别为[image][image]。根据能量守恒定律有

[image] 1-13

由于两截面是任取的,故公式(1-13)可改写为

[image]=常数 (1-14

式中各项分别称为:比压能(压力水头)、比位能(位置水头)、比动能(速度水头),每一项的量纲都是长度单位。

伯努利方程的物理意义:在管内作稳定流动的理想液体具有压力能、位能和动能三种形式的能量,在任一截面上这三种能量可以互相转换,但其总和却保持不变。而静压力基本方程则是伯努利方程(在流速为零时)的特例。

2)实际流体的伯努利方程

实际液体具有粘性,在管中流动时,为克服粘性阻力需要消耗能量,所以实际液体的伯努利方程为

[image] 1-15

式中 [image]——以水头高度表示的能量损失。

实际液体流动时的能量损失也可以用压力损失表示

[image] 1-16

式中 [image]——压力损失。

1.1.3 管路压力损失计算

实际液体具有粘性,流动时就有阻力,为了克服阻力就必然要消耗能量,这样就有能量损失。能量损失主要表现为压力损失,这就是实际液体伯努利方程最后一项的含义。

压力损失过大,将使功率消耗增加,油液发热,泄露增加,效率降低,液压系统性能变差。因此正确估算压力损失的大小,从而找出减少压力损失的途径是有其实际意义的。

液体压力的损失分为两类,一是有油液流经直管时的压力损失,称为沿程压力损失,这类压力损失是由液体流动时的内摩擦力引起的;另一类是油液流经局部障碍(如弯管、管道突然扩大或收缩以及阀控口等)时,由于液流方向或速度突然变化,在局部地区形成旋涡引起液体质点相互碰撞和剧烈摩擦而产生的压力损失,这种损失称为局部压力损失。

沿程压力损失的大小与液体流动状态有关,因此下面将首先介绍液体的两种流态和判断准则。

19世纪末,雷诺通过大量实验发现了液体在管道内流动时具有两种状态:层流和紊流。并找到了判别这两种状态的方法。

[image] 动画演示

1-6 液体流态示意图

a)层流 b 紊流

 

层流时,液体质点沿管道作直线运动而没有横向运动,即液体作分层流动,各层间的液体互不混杂。紊流时,流体质点的运动杂乱无章,除沿管道轴线运动外,还有横向运动,呈现紊乱混杂状态。

层流和紊流是两种不同性质的流态。层流时,液体流速较低,质点受粘性制约,不能随意运动,这时粘性力起主导作用。紊流时,液体流速较高,粘性制约作用减弱,因而惯性力起主动作用。

大量实验证明,流体在圆管内的流动状态,不仅与液体的平均流速[image]有关,还和管径[image]及油液的运动粘度[image]有关。决定液流状态的是这三个参数组成的一个称之为雷诺数Re的无量纲数,即[image]

液体在圆管内流动时,如雷诺数相同,它的流动状态亦相同。液流由层流转变为紊流时的雷诺数和由紊流转为层流时的雷诺数是不同的,后者数值小,一般用后者作为判别液流状态的依据,称为临界雷诺数,记作[image]。各种形状通道的临界雷诺数由实验确定。实验表明,在管道形状相同的条件下,其临界雷诺数基本上是一个定值。当[image]为紊流,[image]为层流。

1-1 常见液流通道的临界雷诺数

通道形状

临界雷诺数

光滑金属圆管

2320

橡胶软管

16002000

光滑的同心环状缝隙

1100

光滑的偏心环状缝隙

1000

有环槽的同心环状缝隙

700

有环槽的偏心环状缝隙

400

圆柱形滑阀阀口

260

锥阀阀口

20100

在液压系统中,当判断出液体流态后,就可分别计算出管路系统中所有直管中的沿程压力损失和局部压力损失,这两者之和就是系统总的压力损失[image],具体的计算过程可以查阅有关的液压设计手册。

考虑到存在的压力损失,一般液压系统中液压泵的工作压力[image]应比执行元件的工作压力[image][image],即

          [image]              (1-17

1.1.4 液体流经孔口及缝隙的特性

在液压传动和伺服控制中经常会遇到液流流经薄壁孔、细长孔或介于两者之间的孔口。液体流过这些孔口,当其通流面积和通道长度不同时,对液流的阻力也不同。如果它们两端的压差不变,则改变它们的通流面积或长度,就可以调节流经它们的流量,为此将它们称为节流器。

薄壁小孔——当小孔的通道长度[image]与孔径[image]之比[image]时,称为薄壁小孔;

孔——当小孔的通道长度[image]与孔径[image]之比[image]时,称为细长孔;

孔——当小孔的通道长度[image]与孔径[image]之比[image]时,称为短孔。

我们可以把薄壁小孔、细长孔及介于二者之间的所有节流器写成一个式子

[image]             (1-18

式中 [image]——与节流孔(器)的形状、尺寸和液体性质有关的节流系数,由实验求得;

[image]——节流孔的通流面积;

[image]——节流孔前后的压力差;

[image]——由节流孔的形状(即孔径与孔长的相对大小)决定的指数。0.5[image]1。对于薄壁小孔[image]=0.5,对于细长孔[image]=1,其余孔介于二者之间。

三种节流孔的流量特性曲线如图1-7示,其中直线OA表示细长孔的流量特性,抛物线OB表示薄壁小孔的流量特性,而介于两种孔之间的节流器流量特性位于OAOB之间的阴影部分中。

[image] 

1-7 三种节流孔的流量特性曲线

当为薄壁小孔时,[image]与绝对粘度[image]无关;为细长孔时, [image][image]的函数,所以当其他条件相同而温度变化较大时,细长孔的流量变化也大,薄壁小孔的流量就不受温度变化的影响。所以液压技术上为使流量稳定多采用薄壁孔作为控制流量的节流器,而细长孔则多为阻尼孔用。

对于薄壁小孔,其流量为

[image]        (1-19

对于细长孔,其流量为

[image]            (1-20

式中 [image]——称薄壁小孔的节流系数。其中[image]为流量系数,[image]为液体密度;

[image]——称细长孔的节流系数。其中[image]为孔径,[image]为孔长,[image]为液体绝对粘度。

薄壁小孔、细长孔或缝隙等对液体流动产生阻力(即形成压力降或压力损失)。通流面积和通道长度不同,其阻力也不同,这种阻力称为液阻。节流阀是借助改变阀口通流面积或通道长度来改变阻力的可变液阻。

1.1.5 液压冲击和气穴现象

1.液压冲击

在液压系统中,由于某种原因,液体压力在一瞬间突然升高,产生很高的的压力峰值,这种现象称为液压冲击,液压冲击产生的压力峰值往往比正常工作压力高很多,且常伴有很大的噪声和振动,它的压力峰值有时会大到正常工作压力的几倍至几十倍,严重时会损坏液压元件、密封装置和管件等,有时还会引起某些液压元件的误动作,因此必须采取减少或防止液压冲击。液压冲击的类型有以下几种:

1)液流通道迅速关闭或液流方向突然改变使液流速度的大小或方向突然变化时,由液流的惯性力引起的液压冲击。

可以采取以下措施来减少这种液压冲击:

2)运动部件制动时产生的液压冲击

运动部件质量越大,制动前速度越高,制动时产生的冲击压力也越大。降低制动前的速度、设置缓冲卸荷阀是解决该问题的途径。

2.气穴现象

通常液压油中都溶解有一定的空气,常温时在一个大气压下溶解量约为6~12%(体积)。液体中能溶解的空气量与绝对压力成正比。溶解在液体中的气体对液体的体积弹性模量没有影响,但游离状态的气泡则对液体的体积弹性模量有显著影响。在大气压下溶解于油液中的空气,当压力低于大气压时,就成为过饱和状态,当压力降低到某一值时,过饱和的空气将从油液中分离出来形成气泡,这一压力称为空气分离压。若压力继续降低到相应温度的油液饱和蒸汽压时,油液将沸腾汽化产生大量气泡,这两种现象都称为气穴。由于饱和蒸汽压比空气分离压低得多,在液压技术中常把绝对压力是否低于空气分离压作为产生气穴的标准。液压系统中产生气穴后,气泡随油液流至高压区,在高压作用下迅速破裂,于是产生局部液压冲击,压力和温度均急剧上升,出现强烈的噪声和振动。当附着在金属表面上的气泡破裂时,所产生的局部高温和高压会使金属剥落、表面粗糙、元件的工作寿命降低,这一现象称为气蚀。

当液压泵吸油管直径过小、安装高度过高、密封不严使空气进入管道和吸入口滤油器堵塞等都会使泵吸油腔产生气穴。液压泵产生气穴后,不仅使输油量减少,还会导致流量和压力脉动以及振动和噪声,使液压泵不能正常工作。

在液压系统中,当压力油流过节流口、喷嘴或管道中狭窄缝隙时,由于流速急剧增加,根据伯努利方程可知,该处压力将降得很低,这时也可能产生气穴。

为了防止气穴,可采取下列措施:

 

  1. 2 液压传动的工作原理和组成

1.2.1 液压传动的工作原理

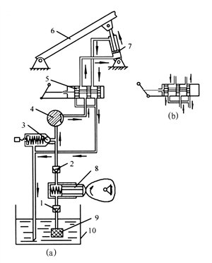
图1-8所示为建设机械上常见的一种举升机构(如液压起重机的变幅机构、液压挖掘机动臂的升降机构等)的液压系统结构式原理图。

[image] 动画演示

1-8 液压举升机构结构式原理图

(a)系统原理图 (b)换向阀

12—单向阀; 3—溢流阀;4—节流阀;5—换向阀;6—工作机构;7—液压缸;8—液压泵;9—滤油器;10—油箱。

1.2.2 液压传动的组成

经过上述分析可知,一个完整的液压系统要能正常工作,一般要包括五个组成部分:

1)动力元件:即液压泵,其作用是将原动机输出的机械能转换成液压能,并向液压系统供给液压油。

2)执行元件:包括液压缸和液压马达,前者实现往复运动,后者实现旋转运动,其作用是将液压能转化成机械能,输出到工作机构上。

3)控制元件:包括压力控制阀、流量控制阀和方向控制阀等,其作用是控制液压系统的压力、流量和液流方向,以保证执行元件能够得到所要求的力(或扭距)、速度(或转速)和运动方向(或旋转方向)。

4)辅助元件:包括油箱、油管、管接头、滤油器以及各种仪表等。这些元件也是液压系统所必不可少的。

5)工作介质:液压油,用以传递能量,同时还起散热和润滑作用。

为实现某种规定功能,由液压元件构成的组合,称为液压回路。液压回路按给定的用途和要求组成的整体,称为液压系统。

1.2.3 图形符号和液压系统图

我国制定的液压系统图形符号标准(GB/T786.11993)就是采用职能式符号,其中规定,符号都以元件的静止位置或零位置表示。所以图1-8所示的结构式原理图用职能式符号表示就如图1-9所示。

[image] 动画演示

1-9 用职能符号表示的液压系统原理图

(a)系统原理图 (b)、 (c)换向阀

1、2—单向阀;3—溢流阀;4—节流阀;5—换向阀;6—工作机构;7—液压缸;8—液压泵;9—滤油器;10—油箱。

 

1.3 液压传动的特点及应用

1.3.1 液压传动的优点

与其它传动相比,液压传动有以下主要优点:

1.3.2 液压系统的缺点

1.3.3 应用

由于液压传动有其突出的优点,所以在国内外各种机械设备上得到了广泛的应用,如表1-2所示。

1-2 液体传动在各类机械行业中的应用举例

行业名称

应用举例

起重机械

汽车吊、龙门吊、叉车等

矿山机械

凿岩机、破碎机、提升机、采煤机等

建筑机械

打桩机、平地机、装载机、推土机、摊铺机等

农业机械

联合收割机(康拜因)、拖拉机等

林业机械

木材采运机、人造板机等

纺织机械

整经机、浆纱机等

石油机械

抽油机、石油钻机等

建材机械

水泥回转窑、石料切割机、玻璃加工机等

锻造机械

高压造型机、压铸机等

机床机械

液压车床、磨床、液压机等

冶金机械

电炉炉顶电极提升器、轧钢机等

轻工机械

机械手、自卸汽车、高空作业架等

船舶机械

起锚机等

航空机械

飞机起落架等

兵器机械

坦克,火炮稳定器等

智能机械

机器人等

 

1.4 液压传动的工作介质

1.4.1 概述

在液压系统中,液压油是传递动力和信号的工作介质。同时它还起到润滑、冷却和防锈的作用。

液压传动介质按照国标GB/T7631.21987GB/T7631.22003进行分类,主要有石油基液压油和难燃液压油两大类。

石油基液压油可分为普通液压油、液压—导轨油、抗磨液压油、低温液压油、高粘度指数液压油、机械油、汽轮机油和其它专用液压油。难燃液压油可分为合成型、油水乳化型和高水基型。本节主要介绍液压系统通常采用的石油基液压油。

1)普通液压油(L-HL液压油)

采用精制矿物油做基础油,加入抗氧、抗腐、抗泡、防锈等添加剂调和而成,是当前我国供需量最大的主品种,用于一般液压系统,但只适于0℃以上的工作环境。其牌号有HL-32HL-46HL-68

在代号L-HL32中,前一个L代表润滑剂类,H为该L类产品所属的组别,表示应用场合为液压系统(以下的代号中含义相同),后一个L代表防锈、抗氧化型,数字32表示该液压油在40℃时的运动粘度厘斯数。

2)抗磨液压油(L-HM液压油)

抗磨液压油的配制较复杂,除加防锈、抗氧剂外,还需添加抗磨剂、金属钝化剂、破乳化剂和抗泡沫添加剂等。从抗磨剂的组成来看,抗磨液压油分为两种:一种是以二烷基二硫代磷锌为主剂的含锌油;一种是不含金属盐(简称无灰型)的油。含锌抗磨液压油,对钢-钢磨擦副(如叶片泵)来说抗磨性特别突出,而对含有银和铜的部件有腐蚀作用。无灰抗磨液压油对含有银和铜的部件不会产生腐蚀且在水解安定性、破乳化及氧化安定性方面好于含锌抗磨液压油。

抗磨液压油适用于–15℃以上的高压、高速建设机械和车辆液压系统。其牌号有HM-32HM-46HM-68HM-100HM-150。其中M代表抗磨型。

3)低温液压油、稠化液压油和高粘度指数液压油(L-HV液压油)

用深度脱蜡的精制矿物油,加入抗氧、抗腐、抗泡、防锈、降凝和增粘等添加剂调和而成。其粘温特性好,有较好的润滑性,以保证不发生低速爬行和低速不稳定现象。适用于低温地区的户外高压系统。对油有更好的低温性能要求或无L-HV时,可选用L-HS

4)低凝抗磨液压油(L-HS

用高粘度指数基础油,加入抗氧、防锈、抗磨剂合粘温性能改进剂调和而成,应用同L-HV油。本产品比HV低温抗磨液压油的低温性能更好,特别适用于冬季严寒地区户外作业机械的润滑。本产品按照40℃运动粘度分为1015223246等牌号。

L-HSL-HV有更高的低温性能,HS油凝点达-45°C,对在低温环境下工作的液压设备,要采用低温流动性好的液压油,倾点应比环境最低温度高10°C。HVHS油均属于宽温度变化范围下使用的低温液压油,都具有低凝点、优良的抗磨性、低温流动性及低温泵送性,且粘度指数均大于130。但是,HV油的低温性能稍逊于HS油,而HS油的成本及价格都高于HV油。HV油主要用于寒冷地区,HS油主要用于严寒地区。L-HV适用于寒冷地区-30℃以上、作业环境温度变化较大(-30~+70℃)的室外的中、高压液压系统的机械设备上。L-HS适用于严寒区-40℃以上、环境温度变化更大(-40~+90℃)的室外作业的中、高压液压系统的机械设备上。

5)机械油

机械油是一种工业用润滑油,价格低廉,但精制程度较浅,化学稳定性差,使用时易生成黏稠物质阻塞元件小孔,影响系统性能。系统的压力越高,问题越严重。因此只有在低压系统且压力要求很低时才可以应用机械油。

6)专用液压油

专业液压油包括10号航空液压油、合成锭子油、炮用液压油和机动车辆制动液。其中10号航空液压油以深度精制的轻质石油馏分油为基础油,加入8%-9%T601增粘剂、0.5%的T501抗氧防胶剂、0.007%的苏丹Ⅳ染料。具有良好的粘温特性、凝点低、低温性能和抗氧化安定性好,不易生成酸性物质和胶膜,油液高度清洁,应用于飞机的液压系统和起落架、减震器、减摆器等,也应用于大型舰船的武器和通讯设备,如雷达、导弹发射架和火炮的液压系统。寒区作业的工程机械,有的规定冬季使用航空液压油,如日本的加藤挖掘机等。

1.4.2 液压油的性质

1.密度

对于均质的液体来说,单位体积所具有的质量叫做密度,其计算公式如下

[image] 1-21

式中 [image]——液体的密度(kg/m3)

[image]—— 液体质量(kg);

[image]—— 液体体积(m3)。

我国采用20℃时的密度为液压油的标准密度,以[image]表示。计算时,液压油的密度常取[image]= 900kg/m3,在一般条件下,温度和压力引起的密度变化很小,故实用中可近似认为液压油的密度是固定不变的。

2.压缩性

液体受压力的作用发生体积变化的性质叫压缩性。液体压缩性的大小可用体积压缩系数[image]来表示,是指液体所受的压力每增加一个单位压力时,其体积的相对变化量,即

[image] 1-22

式中 [image]——液体压力的变化值(Pa);

[image]——液体体积在压力变化[image]时,其体积的变化(m3);

[image]—— 液体的初始体积(m3)。

式中负号是因为压力增大时,液体体积反而减小,反之则增大。为了使[image]为正值,故加一负号。液体体积压缩系数的倒数,即为液体体积弹性模量,用[image]表示,即

[image] (1-23)

常用液压油的压缩系数[image]=(5~7)×10-10 m2/N,故[image]=(1.4~2)×109 Pa。在液压传动中,如果液压油中混入一定量的处于游离状态的气体,会使实际的压缩性显著增加,也就是使液体的弹性模量降低。在实际液压系统中,一般可忽略油液的压缩性,但当压力较高或进行动态分析时就必须考虑液体的压缩性。

3.液压油的粘性

液压油在流动过程中,其微团间因有相对运动而产生内摩擦力。这种流动液体内部产生内摩擦力的性质就称为粘性。粘性是流体固有的属性,但只有在流动时才呈现出来。因此,粘性是液压油最重要的特性之一。

1)粘性的度量

粘性的大小用粘度表示。粘度是液体流动的缓慢程度的度量。当粘度较低时,液体较稀很容易流动,液体的粘度较高时较难流动。液体粘度常用动力粘度、运动粘度和相对粘度三种方式来表示。按国标GB/T31411994所规定,液压油产品的牌号用粘度的等级表示,即用该液压油在40℃时的运动粘度中心值表示。

液体流动时,由于与固体之间的附着力以及自身的粘性,会使其内各液层间的速度大小不等。如图1-10所示,两平行平面内充满液体,上板[image]运动,下板固定不动。由于液体与固体间的附着性及各层之间的吸附性,致使各液层速度呈线性分布。

[image] 动画演示

1-10 液体粘性示意图

实验表明,各层间的内摩擦力[image]与下述因素有关:

用数学表达式为:内摩擦力[image]    

式中 [image]——比例系数。

1)动力粘度

用液体流动时所产生的内摩擦力大小来表示的粘度就是动力粘度,通常用μ表示。其物理意义是:面积各为1cm2,相距1cm的两层液体,以1cm/ s的速度相对运动,此时产生的内摩擦力,称为动力粘度,如图1-10所示。

SI单位制中,动力粘度单位为帕·秒(Pa·s),即N·s/ m2。常用的SI倍数关系mPa·s。在物理单位制中单位为达因·秒/厘米2,称为泊(P)。换算单位为1P=0.1Pa·s1cP(厘泊)=1 mPa·S

2)运动粘度

由于许多流体力学方程中出现动力粘度与液体密度的比值,于是流体力学中把同一温度下这一比值定义为运动粘度,以[image]表示,即

[image] =[image][image] 1-24

运动粘度[image]的单位,在SI单位制中为m2/ s,在工程上常用mm2/ s(厘斯,cSt)或cm2/ s表示(斯,St)表示,其换算关系为1m2/ s=104St=106 cSt

动力粘度和运动粘度是理论分析和推倒中经常使用的粘度单位。因采用SI制及其倍数单位中的绝对单位制,故称为绝对粘度。两者都难以直接测量,一般多用于理论分析与计算。

3)相对粘度

相对粘度又称条件粘度,是指在规定条件下可以直接测量的粘度。根据测定条件的不同,各国采用的条件粘度单位不同,美国用赛氏粘度SSU,英国用雷氏粘度R,中国、德国和俄罗斯用恩氏粘度[image]

恩氏粘度是被测液体与水的粘性的相对比值,用恩氏粘度计来测量。其测定办法是在某个标准温度T下,将被测液体200cm3装入恩氏粘度计的容器中,测定这些液体经容器底部小孔(直径φ2.8mm)流尽的时间t1,然后在温度T时将200cm3蒸馏水装入恩氏粘度计的同一容器中,测出这些水经容器底部小孔流尽的时间t2,时间t1t2的比值就是被测液体在该标准温度T下的恩氏粘度。

工业上用50℃作为测定恩氏粘度的标准温度,并相应地以符号[image]50来表示。

通常采用如下经验公式做为恩氏粘度和运动粘度的换算式

[image] (St) (1-25)

[image] (cSt)

另外,还可以利用各种手册上绘制好的粘度图及标尺来进行粘度换算。

2)压力对粘度的影响

一般说来,液压油的粘度随压力的增加而增大。但压力值在20MPa以下时变化不大,故可忽略不计。不同的油液有不同的粘度压力变化关系,这种关系叫做油液的粘压特性。在实际应用中,当压力在0 ~ 50MPa的范围内变化时,可用下列公式计算油的粘度

[image] 1-26

式中 [image] 压力为[image]时的运动粘度;

[image] 在一个大气压下的运动粘度;

[image] 油压力;

[image] 系数,对于一般液压油[image]=0.002~ 0.003Pa-1

3)温度对粘性的影响

液压油的粘性对温度的变化十分敏感,在低温范围内表现的特别强烈。不同的油液有不同的粘度温度变化关系,这种关系叫做油液的粘温特性。液压油的粘温特性表现为温度升高粘性降低。液压油粘性变化会直接影响液压系统的工作性能,因此希望液压油的粘性随温度的变化越小越好。油温在20 ~ 80℃范围内,粘温关系可用如下公式表示

[image] 1-27

式中 [image][image] 分别为温度为[image][image]时该油液的动力粘度;

[image] 为取决于油液物理性能的粘度系数,对矿物系液压油可取[image]=1.8~ 3.6×10-2[℃]‐1

液压油的粘性随温度变化而变化的程度可用粘度指数来衡量。它表示被试油液的粘性随温度变化的程度与标准液压油粘性随温度变化的程度之间的相对比较值。粘度指数越大的液压油其粘性随温度的变化越小,粘温特性越好。目前,液压油的粘度指数一般要求90以上,优良的在100以上。

4)调和油的粘度

有时,一种液压油的粘度不符合要求,需要用两种液压油调和才能达到所要求的粘度,则此调和油的粘度可用下式计算

[image] 1-28

式中 [image][image][image]——参加调和的两种油及调和后的粘度,而且[image]>[image]

[image][image]——参加调和的两种油各占的百分比,[image]+[image]=100

[image]——实验所得的系数,可查相应的手册或资料。

1.4.3 液压油的选用

1.对液压油的要求

液压油既是液压传动与控制系统的工作介质,又是各种液压元件的润滑剂,因此液压油的性能会直接影响系统的性能,如工作可靠性、灵敏性、稳定性、系统效率和零件寿命。选用液压油时应满足下列要求:

2.液压油的选择

一般来说,选用液压油时最先考虑的是它的粘度,因为液压油粘度对液压装置的性能影响最大。粘度太大,则流动压力损失就会加大、油液发热,会使系统效率降低;粘度太小,则泄漏过多,使容积效率降低。因此在实际使用条件下应选用使液压系统能正常、高效和长时期运转的液压油粘度。

液压油的选择通常按下述三个步骤进行:

1)列出液压系统对液压油性能的变化范围要求,如:粘度、密度、温度、压力、抗

燃性、润滑性、空气溶解率、可压缩性和毒性等。

2)尽可能选出符合或接近上述要求的工作介质品种。从液压元件的生产厂及产品样品本中获得对工作介质的推荐资料。

3)最终综合、权衡、调整各方面的要求,决定采用合适的油液。

在具体选择时可按照以下两种方法进行:一种方法是考虑系统压力、工作温度、运动速度及经济性等因素来选用合适粘度,使液压泵和控制阀在最佳粘度范围内工作。其具体步骤为:

1)考虑液压系统的工作压力

当液压系统工作压力较高时宜选用粘度较高的油,以免泄漏过多、效率过低;当工作压力较低时宜采用粘度较低的油,以减少压力损失。

2)考虑液压系统的环境温度

液压油的粘度随着温度的变化较大,为保证工作温度下有适宜的粘度,就必须要考虑周围环境的温度,环境温度高时宜采用粘度较高的液压油;环境温度低时宜采用粘度较低的液压油。

3)考虑液压系统中的运动速度

当液压系统中工作部件的运动速度较高时,油液的流速也高,压力损失增大漏油率减少,因此宜采用粘度较低的液压油;当工作部件运动速度较低时,每分钟所需流量很小,漏油率增大,对系统的运动速度影响较大,所以宜采用粘度较高的液压油。

另一种方法是按照液压泵的类型及要求来确定液压油的粘度及型号,如表1-3所示。

1.4.4 环保型液压油

传统的液压油分为石油型和难燃型两种,其中石油型液压油是由石油经过提炼再加入相应的添加剂而形成的,这种液压油成本低,是目前液压系统中普遍使用的液压油液。但石油型液压油易燃,而且难以生物降解,如果泄漏到环境中,会带来安全隐患或对环境造成长久的污染。难燃型液压油主要应用于矿山和钢铁等具有防爆要求的行业,有些难燃型液压油是水和石油型液压油的乳化液;有些难燃型液压油含有大量水,并以乙二醇做粘稠剂;有些是由有毒的磷酸酯合成的,其主要组成成分生物可降解率很低。随着人类环境保护意识的逐渐增强,以及地球石油资源的逐渐枯竭,各国纷纷开展了环保型液压油的研究和生产。

液压油的环保性指的是液压油的生物可降解能力,即生物可降解性。通常一种材料的生物可降解性是指该材料具有普通环境下分解的能力,即在3年内通过自然生物过程,材料变成无毒的、含碳的土壤、水、碳氧化合物或者甲烷的能力。生物可降解性用生物可降解率作为其评价标准。生物可降解率是指一定条件下、一定时间内被自然界存在的微生物消化代谢分解为二氧化碳、水或降解中间体的百分率,即材料被微生物降解的百分率。

生物可降解液压油是指即能满足机器液压系统的要求,其损耗产物又对环境不造成危害的液压油,又称为环境友好型液压油或绿色液压油。

根据基础油的种类不同,环保型液压油主要可分为聚乙二醇、植物油、合成酯及碳氢化合物等。国际标准ISO 6743-41999(中国标准GB/T 7631.22003)中对环保型液压油的分类见表1-4.

1-4 环保型液压油的分类

分类代码

组成及特性

常用名称

LHETG

植物油(甘油脂)不溶于水

天然脂肪液压油

LHEES

合成酯类油 不溶于水

合成酯液压油

LHEPG

聚乙二醇(聚醚) 可溶于水

聚乙二醇液压油

LHEPR

碳氢化合物(合成烃PAO)不溶于水

合成烃液压油

目前国外已有多家公司生产环保型液压油,例如Mobil公司的EAL 224 H系列、Cognis公司的PROECOEAF 300系列、Fuchs公司的PLANTOHYD S系列合成酯型液压油、Castrol公司的Carelube HTG植物油型液压油、Quaker公司的Quintolubric 855合成酯抗燃型液压油、ACT公司的EcoSafe FR系列抗燃液压油以及Houghton公司的COSMOLUBRIC HF130合成酯抗燃液压油等。

尽管环保型液压油既具备普通矿物油的抗磨及润滑等特性,同时又不会对环境造成污染,但在目前阶段仍然存在着一些问题,例如:

1)低温问题

低温下许多以植物油作为基础油的环保型液压油会出现胶凝或固化现象。

2)承载压力不能过高

目前,环保型液压油的工作压力一般不超过34.5MPa,如超过,则会对使用菜籽油的液压泵产生较大磨损,较大的承载工况甚至可把甘油三酸酯分解为酸,从而破坏泵内的有色金属。

3)寿命问题

若暴露在光照下,环保型液压油会变黑,因为油中的光敏类脂类和脂肪材质会由于吸收紫外线而改变颜色。

但是,随着科学技术的进步,环保型液压油的性能必然会得到提高和改善,上述问题必将得到解决,环保型液压油的应用会越来越广泛。